Nintendo vừa đệ đơn cấp bằng sáng chế cho ốp lưng điện thoại có đầy đủ chức năng và phím bấm vật lý để biến smartphone thành máy chơi game cầm tay “Game Boy”.

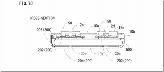
Bằng sáng chế này mô tả ốp lưng điện thoại gồm 2 mặt gập lại với nhau. Mặt trước sẽ bọc kín màn hình điện thoại, chỉ chừa lại một khoảng nhỏ ở phía trên giống máy chơi game cầm tay. Mặt sau là tấm đỡ điện thoại giống các ốp lưng truyền thống.
Các nút bấm vật lý được bố trí ở mặt trước và có cấu tạo không khác so với những máy Game Boy cổ điển. Theo bằng sáng chế, thiết bị hoạt động với một tấm dẫn dưới mặt trước của case và có nhiệm vụ chuyển lệnh bấm từ nút cứng sang màn hình cảm ứng của thiết bị.

Điều này không quá ngạc nhiên khi Nintendo liên tục đưa những tựa game huyền thoại của mình lên điện thoại di động như Pokemon, Super Mario Run, Animal Crossing: Pocket Camp, Fire Emblem Heroes… và gần đây nhất là Dragalia Lost. Có vẻ như hãng đang quyết tâm lấn sâu sang thị trường game trên di động, theo đúng xu thế mới và không quên đem những trải nghiệm “hoài cổ” lại cho người chơi với sản phẩm mới này.
Bộ vỏ điện thoại sẽ đem đến những cảm giác bấm chân thực và dễ điều khiển, điều mà màn hình cảm ứng trên smartphone không thể đáp ứng và làm người chơi nhàm chán.

Hiện tại vẫn chưa rõ Nintendo sẽ phát triển ứng dụng riêng, có thể là Game Boy phiên bản điện thoại di động, hay nâng cấp những trò chơi sẵn có để Case có thể hỗ trợ. Vẫn còn quá sớm để đoán được hướng đi tiếp theo của Nintendo.
Trong quá khứ, “ông trùm” game 8 bit này đã đăng ký rất nhiều bằng sáng chế nhưng số sản phẩm được xuất xưởng chỉ đếm trên đầu ngón tay, đa phần đều không thành hiện thực.
Theo The Next Web











